

近年来,数据安全事件层出不穷,事件规模和影响范围越来越大,给企业带来巨大的经济损失,也严重影响了公民的正常生活。6月21日,超星学习通被曝超1亿条数据被泄露。4月29日Group-IB数据显示,2022年一季度被暴露的数据库多达9万个,较2021年增速迅猛。
随着国家及各级监管部门陆续出台各类信息安全法律法规,数据安全已然成为当前最受关注的话题之一。

数据安全中,人为因素造成的数据泄露事件占有很高的比例,企业的敏感信息,也许在不经意中就被传到互联网上,例如程序员常常把程序代码上载到Github、CSDN等技术网站上,而忽略了代码中包含有诸如账号密码、电子证书、数据库访问key等敏感数据,一旦这类信息被不法分子掌握,会很容易获得企业的数据,造成极大的破坏并带来无法弥补的损失。
在此背景下,互联网数据泄露监测工具显得格外重要。它能帮助企业监测互联网关键网站或平台,发现企业存在的敏感信息泄露情况,从而采取相应的措施消除问题,及时遏制数据泄露带来的损失。
互联网数据泄露监测工具
01
产品简介
思维世纪互联网数据泄露监测工具是一款监测互联网上数据资产泄露的工具产品(以下简称工具),支持多种方式来监测GitHub、百度文库类互联网关键网站或平台存在的泄露情况。

02
产品功能

多库管理
对要扫描的信息仓库、文库、代码库进行管理,包括参数设置、账号配置、访问方式等管理功能,以及执行启用/停用功能。

数据泄露监测
配置监测策略,在规定的互联网对象范围内进行搜索。当发现目标信息时,触发告警机制,并提供命中结果详情。

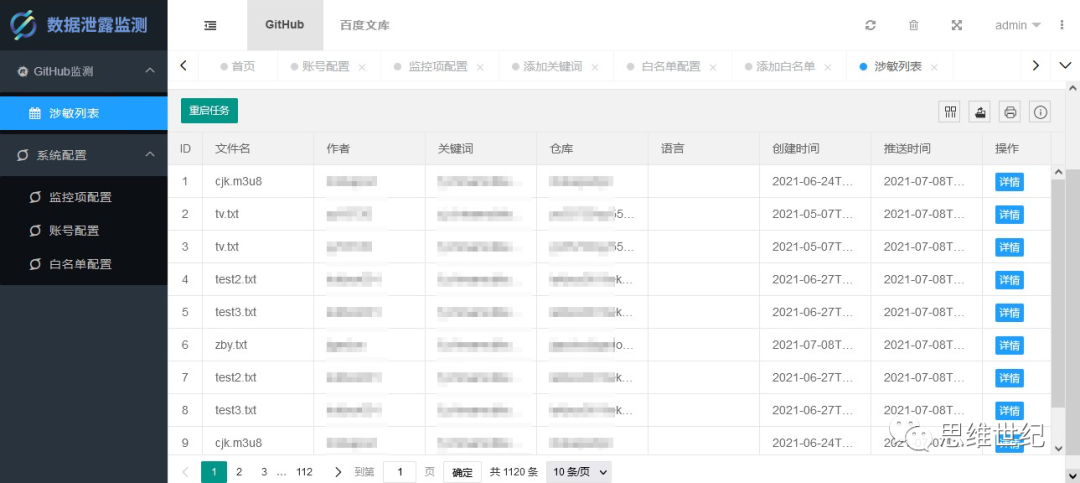
数据审查
搜索后的涉敏条目会在”涉敏列表“中显示。条目中包含涉敏文档的详细信息链接,点击链接可以访问文档所在的文库页面查看内容,可以对结果显示的条目进行人工筛选,确定最后的结果。

报告生成
对搜索到的涉敏列表进行审查后,可以生成报告并将报告导出,也可以通过打印机打印出来。
03
产品特点
自动化运行
互联网数据泄露监测工具可实现全自动化运转。通过配置定时任务,可以规定扫描开始时间、运行间隔等任务参数,满足任务定义属性的条件满足后,任务会自动运行,对获得的数据进行分析,并自动产生告警。
开放性强
该工具采用面向对象的设计,当引入新仓库进行支持时,只需对支持该仓库的特定接口进行定制编程以集成进工具,并不会影响到其它的代码和逻辑。当要支持的新仓库无接口、或不能获得接口时,工具同时提供了爬扫的方式,也能快速地对新仓库进行集成。
并且互联网数据泄露监测工具已集成进思维世纪数据安全检查工具箱,能和工具箱中的其它工具共享数据和服务,协同工作。
易用性高
该工具通过浏览器进行图形化的访问、配置,确保使用的简便性。其完善的权限管理,又保证应用系统的访问安全性。
另外,为使用好工具,让工具充分发挥价值,随工具配套提供了辅助性模板,主要有:
1.调研模板:进行原始材料的收集,用于准确、全面地设计关键字,包含以下内容:
对象:公司名称、对象名称等
行业:运营商、医疗、金融等
域名:所有的主域名
标识:对象比较有特色的内容
IP资产A段:IP资产的A段,如10段
关注的涉敏数据:对象关注的行业重要数据
2.报告模板
04
应用场景
● 数据监测告警
互联网数据泄露监测工具可协助企业对重要数据和敏感数据泄露情况进行随时监测,并及时告警,做到数据安全防护常态化运营,有效解决企业敏感数据在互联网泄露的问题。
● 风险报告生成
互联网数据泄露监测工具可根据数据泄露监测情况,通过多维度数据分析生成风险报告,使企业直观了解数据泄露现状,为后续数据治理工作提供目标及方向。
往期回顾

要闻|四川省经信厅信息安全及基础设施处领导一行莅临我司调研交流!

喜报|思维世纪数据安全监管平台通过中国信通院数据安全管控平台能力检验!

